专题:万达集团及王健林被限制高消费中财所
核心提示:
1.截至目前,万达集团及王健林所拥有的资产包括大连新达盟40%股权、约200座万达广场,以及万达体育、万达宝贝王等。
2.目前万达集团对外投资仍处于存续状态的企业为24家,持股超过50%的为15家。
3.王健林所控制的企业有76家仍处于存续期间,对外投资的11家企业中则仅有6家显示为存续状态。
王健林又“摊上事儿”了。
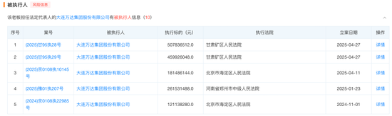
据天眼查,大连万达集团股份有限公司(以下简称万达集团)及其法定代表人王健林等被限制高消费,时间为2025年9月26日。
案件流程显示,相关案号为(2025)甘执恢249号,执行标的为1.86亿元,执行法院为甘肃省兰州市中级人民法院,被执行人包括武汉万达文旅置业有限公司、武汉楚河汉街文化旅游投资公司,万达集团以及万达地产集团有限公司。
中国执行信息公开网信息显示,该案件立案日期为今年7月16日。
对此,万达集团内部人士在回复《每日经济新闻》记者采访时表示:“此次是由于万达下属项目公司经济纠纷,事实上之前双方一直在通过多种方式协商解决,我们也正在了解具体情况,本次(限高)或因执行层面信息不对称导致。”
需要注意的是,这不是万达系公司年内首次被限高。今年7月,因未按执行通知书指定的期间履行生效法律文书确定的给付义务,万达集团旗下大连万达商业管理集团股份有限公司(以下简称万达商管)及其法定代表人张春远被限制高消费,涉及建设工程施工合同纠纷案件。
9月29日,《每日经济新闻》记者查询了解到,当前中国执行信息公开网已经没有万达集团董事长王健林限高信息。
被执行金额已超52亿元
多次问鼎中国首富的王健林,如今却因不到“2个小目标”而陷入被动局面。
天眼查显示,因一笔1.86亿元的执行标的,万达集团和王健林等于近日被限制消费。这也意味着,近期王健林将不得乘坐飞机头等舱、入住星级酒店等。
尽管万达集团相关人士表示,此次系“执行层面信息不对称导致”中财所,但也让外界再次将焦点聚集到了万达集团日益增长的债务压力上。
天眼查信息显示,截至目前,仅万达集团就有10条被执行人信息,涉及总金额约52.62亿元,1条被限制高消费信息,以及47条股权冻结信息。
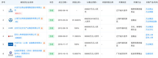
其中,大额股权冻结情况也在增多。如今年9月初,万达集团新增两则股权冻结信息,标的企业为上海万达网络金融服务有限公司、上海万达小额贷款有限公司,冻结股权数额分别为85.62亿元、8.4亿元,冻结期限均为三年。
但需注意的是,上海万达网络金融服务有限公司注册资资本为93.125亿元,上海万达小额贷款有限公司注册资本为10.5亿元,均由万达集团实际控股,是其金融战略的核心平台之一。
而此次冻结的股权均超过了注册资本的80%,这无疑进一步加剧了万达集团的金融困局。
此外,万达商管也有1条被执行人信息,累计被执行总金额约295.9万元;万达地产集团有限公司有423条被执行人信息,被执行总金额共计18.4亿元,其中失信被执行人共4条,涉案总金额211.51万元。
中国企业资本联盟副理事长柏文喜在接受采访时曾表示,万达集团频繁出现股权冻结等情况的直接原因是债务问题,从公开司法信息看,每一次股权冻结几乎都对应一笔到期未清偿的债务,涉及银行贷款、信托计划等。
一年资产缩水820余亿元
事实上,为缓解资金紧张,王健林自2023年就开启了“卖卖卖”模式。
万达集团官网显示,公司产业涉及商管集团、文旅集团以及投资集团三大板块。
其中,商管集团主要为全国万达广场的商业管理运营,但2024年3月30日,太盟集团、中信资本等联合向大连新达盟投资约600亿元,获得约60%股权后,万达商管的持股比例已降至40%。
王健林再卖48座万达广场,腾讯等“熟人团”接盘
文旅集团则涉及酒店管理、宝贝王集团、体育集团、文旅项目以及国际医院等。
其中,今年4月,王健林作价24.9亿元,将万达酒店管理公司(以下简称万达酒管)100%股权卖给同程旅行。
万达酒管主要业务包括四个板块:酒店营运及管理服务、酒店设计及建设管理服务、投资物业租赁,以及海外买卖和租赁物业。
截至2024年底,万达酒管在营酒店共计204家,另有376家酒店已签约待开业。
宝贝王集团则在2020年以约4.2亿元出售其早教业务板块后,目前仍运营着超450家乐园门店以及IP业务;体育集团以及包含武汉中央文化区、延安红街等项目在内的文旅项目、国际医院等尚未发生变化。
投资集团则包括了住宅房地产、城市综合体以及万达酒店等业务。其中,最引人关注的就是核心资产万达广场。
万达商管官网信息显示,截至2024年年底,万达集团在全国开业513座万达广场(包括轻资产运营),商业运营总建筑面积7090万平方米。
但今年5月21日,国家市场监督管理总局批准了由太盟、高和丰德、腾讯、京东潘达、阳光人寿等机构组成的联合体对万达商管旗下48家目标公司的收购案,涉及全国39个城市的48座万达广场。
从8月成立的苏州宽遇私募基金出资情况来看,这48座万达广场累计对应出售资金超200亿元。
而出售万达广场已成为近年王健林资金回笼的常态。
据每经记者不完全统计,从2023年出售上海松江万达广场开始至2024年,万达共出售的项目超过30个。今年以来,这一出售节奏进一步加快,仅年初就有7座万达广场被出售,叠加此次的48座,目前全国已有近百座万达广场所有权易主。
值得注意的是,513座万达广场并非全部都由万达集团自持。参考公开可查的2023年3月末数据,万达集团自持的万达广场占比约60%。据此来看,这意味着,留给王健林能出售的万达广场仅200座左右。
除此之外,王健林也在持续清空其拥有的其他资产。
今年7月,中国儒意以2.4亿元收购万达旗下快钱金融30%的股权;2023年至2024年,中国儒意及旗下公司通过多次股权受让,获得了万达投资100%股权,并通过万达投资间接成为万达电影的实控人;2024年,王健林还相继对美国传奇影业股权、英国圣汐游艇公司等进行转让。
柏文喜表示,万达集团虽然频繁出让万达广场等资产,不过回笼现金低于预期,很多交易是以资抵债,带来的增量现金有待观察。
据每经记者不完全梳理,截至目前,万达集团及王健林所拥有的资产包括大连新达盟40%股权、约200座万达广场,以及万达体育、万达宝贝王等。
另据天眼查,目前万达集团对外投资仍处于存续状态的企业为24家,持股超过50%的为15家,包括上海万达网络金融服务有限公司、北京万达文化产业集团、万达产业文化有限公司等。
王健林所控制的企业有76家仍处于存续期间,对外投资的11家企业中则仅有6家显示存续状态。
根据最新发布的《2025新财富500创富榜》,王健林父子今年的财富为588.1亿元。与上年的1408.4亿元相比,短短一年时间里大幅缩水820多亿元,排名更是从上年的第9名急剧下滑至第51名。
海量资讯、精准解读,尽在新浪财经APP
责任编辑:凌辰 中财所
杨方配资提示:文章来自网络,不代表本站观点。